Google ma nietuzinkowy pomysł na ładowanie bezprzewodowe, a także na ładowanie zwrotne. Owszem, brzmi on trochę niedorzecznie, ale zawsze istnieje jakaś szansa, że to rozwiązanie trafi do jednego z przyszłych Pixeli.
Ładowanie bezprzewodowe… przez ekran
Google Pixel 9, podobnie jak pozostałe smartfony na rynku, ma cewkę indukcyjną umieszczoną przy pleckach. Ma to na celu zapewnienie możliwie najbardziej efektywnego przesyłania energii, gdy smartfon odkładany jest na ładowarkę indukcyjną – oczywiście w taki sposób, że leży na plackach. Sprawia to, że chociażby cały czas mamy podgląd treści wyświetlanych na ekranie, co jest oczywiście zaletą.
Firma z Mountain View postanowiła jednak nieco namieszać w tej kwestii. Co prawda obecnie w formie pomysłu i złożonego patentu, ale nie należy wykluczać scenariusza, że to rozwiązanie doczeka się realizacji. Otóż twórcy Pixela chcą oferować ładowanie bezprzewodowe przez ekran smartfona.
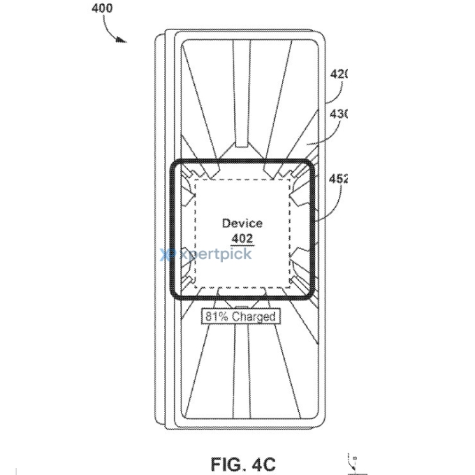
Jak wynika ze zgłoszonego patentu, cewka ładująca miałaby znaleźć się tuż pod ekranem. W celu zapewnienia lepszego przesyłu energii i wyeliminowania ewentualnych zakłóceń, ekran tuż nad cewką mógłby być wyłączany. Nie musi to jednak oznaczać, że cały panel będzie nieaktywny – pozostała przestrzeń mogłaby posłużyć do wyświetlania danych o chociażby poziomie naładowania położonych urządzeń.


Pomysł Google niekoniecznie jest dobry
Jeszcze w przypadku ładowania zwrotnego takie rozwiązanie wydaje się być ciekawe, ale całkowicie traci sens podczas ładowania samego smartfona. W końcu musielibyśmy go odłożyć ekranem do dołu na ładowarkę indukcyjną. Natomiast, jak już wcześniej wspomniałem, jeśli smartfon leży na tego typu ładowarce, to możemy odczytać wybrane treści z wyświetlacza, gdy jest położony na pleckach.
Jasne można teoretycznie umieścić jedną cewkę tuż pod ekranem do ładowania zwrotnego i drugą w bardziej konwencjonalnym miejscu do ładowania bezprzewodowego samego smartfona. Tylko że niepotrzebnie komplikuje to całą konstrukcję urządzenia, a dodatkowo może mieć negatywny wpływ na jego grubość.
Owszem, w przyszłości możemy znaleźć rozwiązania na powyższe problemy, ale obecnie kombinowanie z lokalizacją cewki wydaje się być pomysłem mocno nietrafionym. Podejrzewam, że w kwestii ładowania wielu użytkowników Google Pixeli chciałoby jednak zobaczyć coś innego – opcjonalne, znacznie szybsze uzupełnianie energii, zarówno za pomocą kabla, jak i ładowarki indukcyjnej.




