Przyszłe smartfony mogą być znacznie potężniejsze niż obecne. Apple ujawniło swój kolejny pomysł na to, aby iPhone stał się prawdziwym monitorem zdrowia. Wygląda na to, że będzie mógł wykrywać problem, z którym boryka się ponad połowa dorosłych Polaków.
iPhone zaoferuje nowy pomiar – pomoże monitorować groźne i często występujące schorzenia
Kreatywność Apple zdaje się nie mieć końca. Już pod koniec 2024 roku firma pochwaliła się, że ma w planach uzupełnienie funkcjonalności gogli Vision Pro o funkcję wykrywania oddechu, aby z jego pomocą monitorować sen. Teraz ujawniono kolejny patent o nazwie Urządzenia elektroniczne z systemem pomiaru oddechów. W teorii rozwiązanie może zostać wdrożone w wielu sprzętach, jednak rysunki zdradzają, że chodzi o iPhone’a.
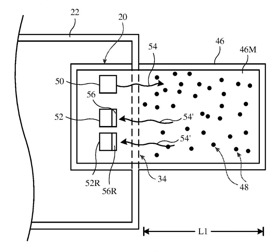
Zgodnie z dokumentem, technologia miałaby zostać oparta na wbudowanym czujniku oddechu, zainstalowanym w okienku czujnika w obudowie. Pomiar odbywałby się bez ustnika. Wystarczy, aby użytkownik wziął do ręki smartfon, przybliżył go do ust (podobnie jak wtedy, gdy mówimy wprost do głośnika), a następnie chuchnął w otwór.
W efekcie system Apple mógłby zmierzyć biomarker danego stanu zdrowia oraz wykrywać problemy zdrowotne. Technologiczny gigant z Cupertino w patencie wspomina, że metoda ta miałaby pomagać w wykrywaniu kilku schorzeń, np. cukrzycy, podwyższonego poziomu cholesterolu czy innych chorób.
Apple chce badać cukier i cholesterol iPhonem – jak to działa?
Zasada działania tego nowego czujnika miałaby opierać się o źródło światła podczerwonego. Wyemitowane światło kierowane byłoby przez przepływające powietrze (oddech), a następnie ponownie mierzone z użyciem cząsteczki gazu, służącego jako biomarker danego stanu zdrowia.
Każdy dokonany w ten sposób pomiar miałby być porównywany z bazą danych. Jeśli system wykryłby nieprawidłowości iPhone poinformowałby o tym użytkownika. Apple Insider porównuje ten mechanizm do zalecania wizyty lekarskiej, gdy czujniki zegarka Apple Watch wykryją nieprawidłowości. Warto przypomnieć, że smartwatche te oferują już całkiem sporo funkcji ukierunkowanych na zdrowie i są ciągle rozwijane.

Co istotne, w przypadku iPhone’ów Apple nie musi ograniczać się do jednego czujnika. W takim otworze mogłyby zmieścić się różne sensory (w patencie rozrysowano na schemacie trzy), które byłyby odpowiedzialne za rejestrowanie kilku parametrów zdrowia naraz. Biorąc pod uwagę obecną miniaturyzację komponentów może okazać się, iż ten niewielki otwór w iPhone’ach w przyszłości umożliwi monitorowanie sporego grona parametrów zdrowia.
Warto też przypomnieć słowa Tima Cooka, który w 2019 roku wspomniał: Gdy spojrzymy z perspektywy czasu w przyszłość i zadamy sobie pytanie: „Jaki był największy wkład firmy Apple w dobro ludzkości?”, odpowiedź będzie dotyczyła zdrowia.




