Wyświetlacz to newralgiczny element każdego smartfona, który jest najbardziej podatny na wszelkie uszkodzenia. W przypadku jego uszkodzenia koszt koniecznej naprawy sprawia, że kilka razy się zastanawiamy, czy się ona opłaca, czy lepiej dołożyć i kupić nowy sprzęt. Oczywiście ciężko jest się rozstać z urządzeniem, z którego jesteśmy zadowoleni. Dlatego Apple ma pomysł, jak uchronić zarówno ekran smartfona, jak i użytkowników od takich dylematów.
Kalifornijczycy złożyli 18 kwietnia 2014 roku w Amerykańskim Urzędzie Patentowy wniosek opatrzony tytułem Active Screen Protection for Electronic Devices, co można tłumaczyć jako Aktywny system ochrony wyświetlaczy w elektronicznych urządzeniach.
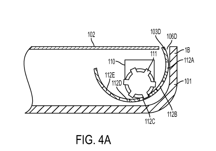
Jak widać na zdjęciach poniżej, składa się on z czterech wysuwanych mechanizmów, po jednym na każdym rogu. Są one połączone z akcelerometrem, który monitoruje pozycję, w jakiej znajduje się smartfon. Gdy sensory zarejestrują szybkie i niekontrolowane zmiany jego położenia, czyli w sytuacji, gdyby wypadł nam z rąk i nieuchronnie będzie zbliżał się do podłoża, natychmiast uruchomią wbudowane mechanizmy znajdujące się na przednim panelu, co uchroni wyświetlacz przez rozbiciem.
Oczywiście system zapewni ochronę tylko przedniego panelu i to wyłącznie w przypadku, gdy telefon upadnie na podłoże równolegle. Los jednak bywa przewrotny i bardzo złośliwy, przez co liczba konfiguracji, w jakich smartfon może spotkać się z ziemią jest wręcz nieskończona i jedyną skuteczną ochroną jest wsadzenie go w porządne etui.
Apple we wniosku napisało także, że powyższy system mógłby znaleźć zastosowanie we wszystkich ich produktach, czyli iPhone’ach, iPadach, Watchach, iPodach i MacBookach.
Źródło: phoneArena





